Apple is actively working on making AirPods better. Now, there's new research by the Cupertino giant showing that Apple is working on dropping the separate detection circuitry, so the AirPods could sense gestures using the RF antenna.
Future AirPods may have a different way to sense gestures
Apple has had plans for gesture control of AirPods for a very long time. The first known patent on the topic dates all the way back to 2011. Some of the technology approaches in those patents are yet to come to fruition, like, for example, camera-based systems.
Recommended For You
A newly-discovered patent application now details yet another change Apple is exploring for AirPods. The patent application is called "Gesture Detection Based on Antenna Impedance Measurements". The filing shows an entirely different approach to gestures.
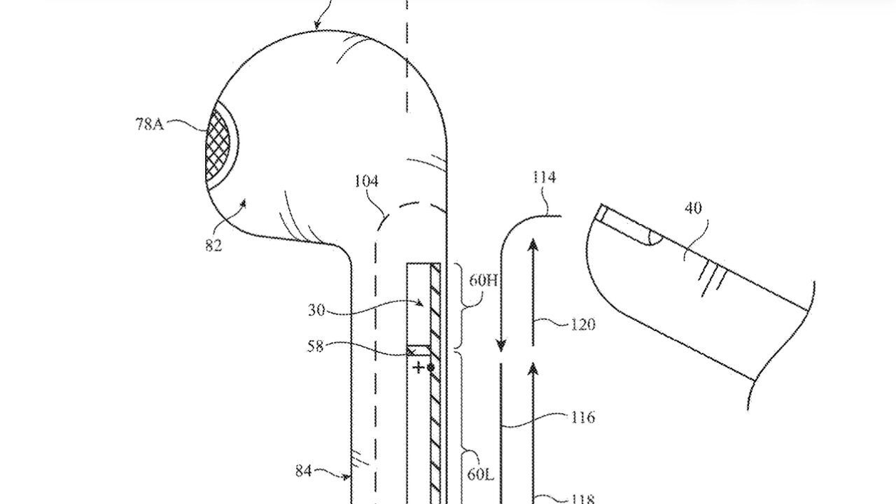
Image Credit - Apple
Current AirPods sport a touch surface, and that's how they detect gestures. The new patent details a separate system.
In the patent, Apple criticizes the current solution as it makes the device bulky and heavy. On top of that, the action isn't instantaneous – when you tap on the AirPods to skip the next track, there's latency before the action is accomplished. This is also something that the Cupertino tech giant is looking to fix.
Recommended For You
The solution that Apple is showing in the patent involves the radio antennas in the AirPods. Radio antennas usually receive audio from the device (like music), and also relay audio (such as input from the microphone).
How do you feel about gesture controls on AirPods?
Love them, faster gestures sound great
28.57%
Curious, but I want to try it first
28.57%
Meh, buttons or taps are fine
21.43%
I mostly control music from my phone anyway
21.43%
14 Votes
Basically, reception and transmission of audio refreshes happen much more frequently than that of capacitive sensor electrodes. In order to make the gestures also as fast as audio transmission, the idea is to include gesture detection somehow in the antennas.
If Apple succeeds with this, then the capacitive sensors can be thrown away. That would obviously help with saving space and reducing the weight of the AirPods.
The patent says that AirPods could measure impedance and changes in it, and this way the capacitive sensor will be thrown away. The patent describes that changes in impedance would indicate if there's a presence or absence of an external object (for example, the user's finger).
So basically, if you swipe upwards on the AirPods's stem with the antennas, it should be able to detect the gesture. Also, it would be able to detect direction, which is required for the volume up or down gesture.
The patent contains 13,000 words and there are quite a few diagrams in it. The file focuses on the specifics of measuring impedance using different materials. Basically, the patent tries (as is usual with patents) to make the technology as broad as possible.
Patents and Apple
Apple has quite a lot of patents it gets granted on a regular basis. However, having a patent about a piece of technology doesn't necessarily mean that we're going to see this exact technology any time soon. Or at all.
The Cupertino tech giant applies for hundreds of patents every year. At most, you can look at them to determine what the company is exploring or what its interests are, and get a glimpse of what it might do in the future.
Apple's wild AirPods idea sounds strange, but I kind of love it
I actually like when Apple looks for smarter ways to simplify things, and this idea fits that pattern perfectly. Using the antenna itself to detect gestures sounds a bit nerdy, but the goal makes sense: faster responses, less hardware, and lighter AirPods.
Of course, this is still just a patent, and Apple has a long history of exploring ideas that never leave the lab. But I enjoy seeing this kind of thinking. It shows Apple isn't just focused on bigger batteries or louder sound, but on the small details that shape how a product feels to use. If this ever makes it into real AirPods, it could be one of those quiet changes that ends up making a big difference.
Get Visible as low as $20/mo for 1 year. Limited time offer with code: FRESHSTART
$20
/mo
$25
$5 off (20%)
Offer Ends 6.1.2026 at 11.59pm ET. New members get $5/mo off the $25/mg Visible plan, $35/mo Visible+ plan, or $45/mo Visible+ Pro plan for the first 12 months. Promo code FRESHSTART required at checkout.
Izzy, a tech enthusiast and a key part of the PhoneArena team, specializes in delivering the latest mobile tech news and finding the best tech deals. Her interests extend to cybersecurity, phone design innovations, and camera capabilities. Outside her professional life, Izzy, a literature master's degree holder, enjoys reading, painting, and learning languages. She's also a personal growth advocate, believing in the power of experience and gratitude. Whether it's walking her Chihuahua or singing her heart out, Izzy embraces life with passion and curiosity.
A discussion is a place, where people can voice their opinion, no matter if it
is positive, neutral or negative. However, when posting, one must stay true to the topic, and not just share some
random thoughts, which are not directly related to the matter.
Things that are NOT allowed:
Off-topic talk - you must stick to the subject of discussion
Offensive, hate speech - if you want to say something, say it politely
Spam/Advertisements - these posts are deleted
Multiple accounts - one person can have only one account
Impersonations and offensive nicknames - these accounts get banned
To help keep our community safe and free from spam, we apply temporary limits to newly created accounts:
New accounts created within the last 24 hours may experience restrictions on how frequently they can
post or comment.
These limits are in place as a precaution and will automatically lift.
Moderation is done by humans. We try to be as objective as possible and moderate with zero bias. If you think a
post should be moderated - please, report it.
Have a question about the rules or why you have been moderated/limited/banned? Please,
contact us.
Things that are NOT allowed:
To help keep our community safe and free from spam, we apply temporary limits to newly created accounts: